
Обновлённый кроссовер Skoda Kushaq: более стильная внешность и пересмотренная техника
Дилеры чешской марки в Индии уже начали собирать предзаказы на рестайлинговый паркетник, первые покупатели получат свои машины в конце марта 2026 года.
Новости рынка
Следим за премьерами, новыми комплектациями, изменениями рынка и событиями, которые помогают лучше выбирать автомобиль под заказ.

Дилеры чешской марки в Индии уже начали собирать предзаказы на рестайлинговый паркетник, первые покупатели получат свои машины в конце марта 2026 года.

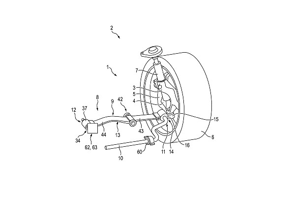
Компания Porsche продолжает патентовать нестандартные технические решения которые могут пригодиться ей в будущем: на днях в в электронной базе WIPO (Всемирная организация интеллектуальной со...

Несколько дней назад в Сети были опубликованы свежие шпионские фотографии нового седана Mercedes-Benz, благодаря которым у нас есть возможность составить первое представление о его внешнем в...

Корейцы оформили экстерьер своего паркетника в соответствии с актуальным фирменным стилем бренда. Подробности появятся в марте 2026 года.

С минивэном М8 в его стандартном исполнении на семь посадочных мест мы уже познакомились в прошлом году, а теперь до нас добралась самая роскошная версия модели – без третьего ряда кресел,...

Китайская компания Nio назначила предварительно на 10 апреля премьеру нового флагманского кроссовера ES9, при этом в электронной базе китайского Минпрома он всплыл ещё на позапрошлой неделе.

Компания Ferrari представила уникальное, сделанное на заказ купе 12Cilindri Tailor Made, разработка и производство которого заняли почти два года. Автомобиль предназначен для южнокорейского...

Компания Kia начала продажи рестайлингового кроссовера Sportage в соседних с нами странах. Там модель предложена с атмосферниками 2.0 и 2.5, оба сочетаются только с автоматом.

Ожидается, что производство этих двух «возрастных» моделей японской марки будет завершено в 2026 году.

Индийский завод Maruti Suzuki начал поставлять на экспорт новый паркетник. Для зарубежных рынков модель переименовали, в остальном же она в целом повторяет местный SUV.

Гендиректор Fiat Оливье Франсуа на прошедшем недавно Брюссельском автосалоне во время общения с прессой признал, что современные автомобили Fiat стоят слишком дорого, итальянской марке нужно...

Не исключено, что в основу грядущего SUV японской марки ляжет та же платформа, на которой базируется актуальный пикап Mitsubishi L200 / Triton.

Новый паркетник Chery предложен в виде подзаряжаемого гибрида, для модели предусмотрен полный привод. Кроме того, пятидверка получила продвинутый автопилот.

Вчера в Сети были опубликованы первые шпионские прототипы нового кроссовера Rolls-Royce, позволяющие нам составить начальное представление о его внешности.

Продажи посвежевшего автомобиля с прежней техникой на японском рынке начнутся 23 января 2026 года. Цены уже известны.